中国包装联合会钢桶专业委员会
网站首页 关于我们 商贸信息 图书库 公司库 行业资讯 展会服务 招聘求职 网站服务 联系我们
设为首页
加入收藏  
会员注册
会员服务
首 页  
行业新闻 | 工艺技术 | 市场信息 | 标准法规 | 网上教程 | 资料查询 | 网上书店 | 企业动态
·设备工装 ·原辅材料 ·业余园地 ·管理文摘 ·展会信息 ·供求信息 ·人才信息 ·企业站点 ·下载中心 ·钢桶杂志 ·专著选登
网上教程:为您提供钢桶行业最新、最实用、最系统的相关知识,行业各职业朋友都能在这里找到你想了解的知识。
  首页-网上教程-点焊机的专用电极夹点焊机的专用电极夹-bt365网址  

 
 

点焊机的专用电极夹

文/李思海

目前我国焊接设备(点焊机)制造厂为大批生产而设计的点焊机直夹头见图1直握电极,只适用于平板或开敞式的结构点焊。但对于铝及其合金的板材,厚度为0.5~1.5毫米的五面和箱形(抽屉型)结构,点焊却难达到,如图2。


图1

图2

因此,我们特制专用电极夹头,以解决生产问题。如果用原来直夹头,采用图3样式的电极,经试验证明:因为此种电极具有较小的截面积,故冷却条件不好,同时又因电极弯转伸出部位A只有30毫米(太大则变形),所以很快就磨损了,这不仅为更换电极而消耗大量纯铜,还由于电极表状复杂而花费很多制造费用。


图3

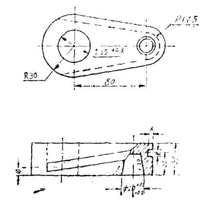
我厂在200千伏安点焊机上采用自制电极夹头见图4。这平夹头与图1、图3的电极与夹头毫无共同之处,这一电极夹头是由:Φ36×4H62黄铜管(见5),中心压入Φ29钢棒(见图6)伏主夹头,再用39×62×128黄铜板经机械加工后(见图7)与主夹头相配钎焊,锥形盲孔夹持活动电极,两侧铣出8×6冷却水槽,然后表面覆盖板并钎焊,出口(水)入口处焊管接头。


图4

图5

图6

图7

这种电极夹头比弯电极(图3)刚性强度好(内有钢芯),导电性能和冷却条件良好,它又能完成直电极夹头所不能完成的某些任务,同时较弯电极具有可更换的优点,这就大大延长了电极使用期限,当合理的采用铬铜合金电极时,比纯铜弯电极使用寿命延长2~3倍。

采用这种办法制造电极夹头,只要更换电极而夹头可长期使用,对于所使用的材料不需纯铜而只用一些黄铜(板、管)和钢棒就行了,制造也并不复杂。因此,对点焊箱形结构产品有一定的使用价值。

 

本站部分信息由企业自行提供,该企业负责信息内容的真实性、准确性和合法性。bt365网址对此不承担任何保证责任
关于我们 | 联系我们 | 广告合作 | 付款方式 | 使用帮助 bt365网址 版权所有
中国包装联合会钢桶专业委员会 主办
mailto:winlyons@www.chinabiaoyue.com
【陇ICP备05000400】