网站首页 关于我们 商贸信息 图书库 公司库 行业资讯 展会服务 招聘求职 网站服务 联系我们
设为首页
加入收藏  
会员注册
会员服务
首 页  
行业新闻 | 工艺技术 | 市场信息 | 标准法规 | 网上教程 | 资料查询 | 网上书店 | 企业动态
·设备工装 ·原辅材料 ·业余园地 ·管理文摘 ·展会信息 ·供求信息 ·人才信息 ·企业站点 ·下载中心 ·钢桶杂志 ·专著选登
网上教程:为您提供钢桶行业最新、最实用、最系统的相关知识,行业各职业朋友都能在这里找到你想了解的知识。
  首页-网上教程-金属容器密封胶及其应用(1)金属容器密封胶及其应用(1)-bt365网址  

 
 

金属容器密封胶及其应用(1)

文|杨文亮

【编者按】本文是根据美国GRACE公司相关资料翻译整理而成,仅供参考。

金属容器大到钢桶,小到金属罐,都是采用金属薄板生产的,其顶盖与桶身都是采用卷边封口方式,金属桶多采用三重卷边,金属罐多采用二重卷边。不论是二重卷边或三重卷边,都会在卷边中加入密封胶,那么,为什么必须加入密封胶呢,密封胶又有那些特性,该如何加入呢?

一、为什么使用密封胶?

金属容器的桶身与桶盖(底)、桶身之间的卷边,如果中间不加入密封胶,将是金属与金属的硬对硬的接触,再加入卷边加工完毕后,金属会产生一定量的回弹,所以,卷边各层金属之间,难免会产生间隙。这些间隙将使金属容器出现渗漏问题,一方面内装物质会漏出来,另一方面外部物质也可能渗透到里面污染内装物。

卷边内没有密封胶的状态

在金属容器卷边中加入密封胶的五大作用:

1、产品泄漏

卷边密封不严,可造成产品的泄漏,产品泄漏不只是造成产品损失那么简单的事情,还可能造成环境的污染,甚至造成火灾、爆炸事故,危及人身健康,所以,防止产品泄漏,是金属容器最重要的性能,也是密封胶最重要的作用。

2、防止细菌进入

内装货物有多种类型,对于食品货物而言,如果细菌、酵母菌和霉菌侵入金属容器内,可能造成内装食品货物的变质,所以有效地防止细菌侵入,是卷边密封胶的重要作用之一。

3、湿气进入

对于有些货物是严禁湿气侵入的,比如电石包装桶,湿气的侵入,可以直接造成电石的风化损失,并同时产生大量的乙炔气体,可能产生爆炸和火灾等事故。有一些食品或化工产品,湿气的侵入,可能造成货物变质或改性、腐烂等问题。所以,密封胶在防止湿气侵入具有一定的作用。

4、氧气渗透

对于某些化工产品和食品,氧气的渗入,可能会造成产品的氧化或变质,甚至发生危险事故,如黄磷包装桶,氧气的渗入,会造成黄磷的燃烧或爆炸。又如食品包装桶罐,氧气的渗入,会造成食品的氧化变质、甚至腐败。所以,防止氧气的渗透,是密封胶的一大作用。

5、金属容器内装压力或真空的丧失

有些化工桶或食品罐,为了防止桶内生锈或食品变质等原因,在金属包装内充入一定压力的氮气,也有的是桶罐内部抽了真空的,当卷边出现渗漏时,这些容器内部的压力和真空将会丧失,这无疑会影响货物的质量稳定。所以,密封胶的加入,将能够有效地保证容器内部的压力或真空度的稳定。


密封胶的五大作用

二、密封胶是啥?

密封胶是橡胶粒子和添加剂以液体分散在水和有机溶剂中的填料。它通过使用喷嘴给以一定的压力流动到金属容器的盖沿内,完全干燥并正确卷封后,为金属容器卷边提供有效的密封。


密封胶在卷边内的形态

三、金属容器卷封需要怎样的密封胶?

1、密封胶必须是性质稳定的液体,即不能变质、稀稠不匀,结块、沉淀、堵枪等等。

2、应有正确的粘度和流动性,得以保证正确的喷胶量及均匀分布。

3、应有比较容易干燥的性能,不易干燥的密封胶难以形成弹性胶膜。

4、其物理性质不影响卷封形成。密封胶的硬度、固形物含量等要适当,不能影响卷封的尺寸形状的形成和卷封质量。

5、可经受灌装工艺和杀菌工艺的高温。很多金属容器在灌装时需要进行杀菌,有和货物需要热灌装,作为密封胶,应该能经受住这些需要而不会改变其密封效果。

6、注胶后保持弹性。密封胶要求有一定的弹性,就是为了更好的填充卷边内的间隙,并有一定的预压缩量,才能保持其密封性。同时不会因为无弹性而影响卷边形成。

7、密封胶的化学性质应与内容物相匹配。金属容器的内装物种类繁多,化学性质也各不相同,如果密封胶的性质与内装物不相容,则可能出现内装物腐蚀密封胶,造成密封胶失效。也可能出现密封胶侵蚀内容物,造成内容物变质。

8、密封胶不影响产品的风味。对于食品容器,如果密封胶具有异味或使食品产生风味的改变等现象,当是不允许的。

四、怎样选择密封胶?

1、选择密封胶的前题条件

(1)密封胶的应用设备

密封胶是怎样涂到盖子上的,是喷胶还是涂胶、印胶,设备的生产速度是多少?有没有干燥设备,干燥设备的温度和干燥时间是多少等等,这些设备各有各的要求,密封胶能否满足设备的施工要求,是选择密封胶的首要条件。

(2)所包装的产品性质和要求

金属容器内装货物的产品性质与密封胶是否匹配,密封胶是否需要耐酸、耐碱、耐油等等。密封胶是否与内容物会起化学反应,是否会产生密封胶变质失效或污染内容物的情况。

(3)金属容器的类型

金属容器类型很多,比如容量的大小、钢板的厚度、开口钢桶或闭口钢桶、常压罐还是压力罐(喷雾罐)等等,不同的金属容器对密封要求是不同的。有的容器,在装货时有内衬袋或塑料内胆,有的是开口钢桶,这类容器对卷边封闭要求不高,选用普通常规的密封胶即可。有特殊用途的金属容器,则需要特殊的密封胶类型。

(4)加工工艺条件

这里的加工工艺条件,主要是指卷封设备、灌装设备的使用条件和工艺要求。比如卷封设备的生产速度、卷边的层数和尺寸形状、灌装产品时的温度和密封条件等等。

(5)检验测试需求

金属容器的检测,是和使用条件不完全相同的,一般来说,检测要求更高更严格,所以密封胶的选择,不仅要满足金属容器的生产和使用条件,还应满足金属容器的检测要求。一般常规检测要求有气密试验、液压试验、堆码试验、跌落试验。一些特殊容器还有耐高温试验、喷淋试验等等。

2、密封胶的选择

(1)根据不同的容器终端应用选择

密封胶类型

终端应用

卫生容器

高温杀菌(蔬菜、汤,牛奶,宠物食品,鱼,肉)

耐油产品

高温杀菌(鱼和肉)

啤酒和饮料

有压力(啤酒和软饮料)

化工产品

喷雾罐、化工桶罐

较大容量桶罐

耐冲击,弹性好

(2)根据不同的应用条件

应用类型

密封胶类型(以格雷斯胶为例)

喷嘴注胶

WBC、SBC、CDP

印胶

WBC、α型

喷淋式注胶

WBC、α型

(3)根据密封胶的制造工艺

-水基型密封胶:α型(固体橡胶,RUB);β型(天然乳胶)。

-溶剂型密封胶:α型。

3、密封胶的技术参数

(1)颜色:常见颜色有灰色、红色和乳白色。

(2)外观:光滑均匀的乳液。没有黑白斑点和不规则形状。

(3)固含量:控制胶膜重量和分布。

(4)干膜比重:计算要求的胶膜重量(干膜重量=干膜体积×密度)。

(5)粘度:控制流量和流动性(粘度计)。

(6)PH值:控制储存和应用稳定性。

(7)空气含量:<1.0%。

五、密封胶的储存和使用

1、密封胶的储存要求

(1)温度:5-30℃,最好在25℃左右。

(2)无结冰,霜冻,冬天应存放0℃以上的室内。

(3)无阳光直射,应存放在阴凉干燥处。

(4)货到后6个月内使用,不要一次性购进太多,过保质期可能会变质。

(5)先进先用,不可以先用新进密封胶,以免旧胶过期浪费。

2、密封胶的使用要求

(1)了解密封胶的型号、适用范围、使用方法、出厂日期、保质期时间、粘度大小、稀释方法、储存要求等。

(2)避免密封胶接触重金属(铜、锌、铬等),因为重金属可能导致密封胶结块,所以盛装和施工的用具,建议使用不锈钢材质。

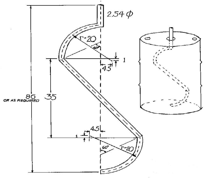
(3)密封胶使用前必须充分搅拌,使期均匀化。因为密封胶在储存中可能有沉淀的可能。搅拌时必须防止旋涡以免混入空气,液面中心仅有轻微的移动。


密封胶搅拌器的尺寸和形状

下表为密封胶粘度与搅拌时间的关系。第一阶段为分解结构和均化密封胶阶段。第二阶段为稳定粘度阶段。从表中可以看出,密封胶使用前的搅拌,共需要15分钟的时间。


六、密封胶的主要成分和作用

1、密封胶的主要成分

成分

水性

溶剂性

橡胶

树脂

填充剂

颜料

氨水

 

载体

粘度调节剂

分散剂/稳定剂/表面活性剂

 

防腐剂

 

2、密封胶各成分的作用

成分

作用

橡胶

卷封密封作用

树脂

提高粘着力

填充剂

巩固胶膜的结合力

抗氧化剂

抗老化,保证长期的弹性

颜料

颜色区别

氨水

稳定水性乳液

载体

水或有机溶剂,稀释作用

粘度调节剂

保证优化的应用性能

七、研发密封胶所要考虑的要素

1、密封胶要满足不同内容物和灌装工艺的要求

比如,很多内装物的生产工艺,在欧洲、北美、亚州不尽相同。甚至各企业的生产工艺也不相同,有的要热灌装,有的需要充氮、抽真空,有的需要杀菌等等。

2、密封性能的要求

不同的卷边形式紧密度不同,卷封结构不同,其密封质量也有很大的差异。三重卷边的密封结构要比二重卷边的密封结构密封强度和效果都要好。不同紧密度的卷边,其密封效果也不同。

3、密封胶应能满足不同的卷封结构,而且不影响卷边身钩的形成

开发通用性更强的密封胶,对于不同的卷封结构,都能够达到最佳的密封效果,而且对卷边形态和尺寸没有影响。

4、密封胶要符合全球各国环境和食品卫生法

对于盛装不同的货物,各国都有其法规要求,比如包装食品,就必须满足食品卫生法,密封胶不应影响内装食品的卫生质量,应保证不会腐蚀内装食品,不会影响内装食品的风味口感等。

5、密封胶应有一定的稳定性能

(1)液体密封胶的稳定性,即其粘度应均匀,不应有分层等现象。

(2)密封胶应能抵抗微生物侵袭,即液体密封胶应保证一定的干膜量。

(3)密封胶干胶要具备一定的抗老化性能。

八、密封胶的性能测试

1、密封胶性能测试应考虑的因素

(1)应在大范围的应用条件下建立的一系列优异的测试方法

(2)整个测试程序应模拟实际的填充操作工艺,包括在每个填充,杀菌,处理,冷却阶段

(3)金属容器将会被灌装有油和脂肪的营养产品来模拟实际的食品产品

(4)在模拟苛刻的条件下,对金属容器进行卷封

(5)在金属容器冷却阶段或者是在容器被可控的破坏之前,容器被暴露在细菌感染的环境下

(6)测试容器被测试后,检查泄露和破损

(7)微生物测试通常是对比试验

(8)单一测试仅仅得到的是有限的知识,一系列的测试才能完整预测实际性能.

(9)单种胶的测试得到的是不完全的结果,需要相同条件下的对比实验

2、采用染色试验检验密封性能

(1)对于常压容器,在卷边外缝上涂上染色试验剂,在卷边外充入压缩空气,检查卷边内缝是否有染色试验剂渗入。从而判断其密封性能。


常压容器染色试验

(2)对于压力容器,如气雾罐等,将染色试验剂涂在卷边内缝上,在容器内通入压缩空气,检查染色试验剂是否从卷边外缝渗出,从而判断其密封性能。


内压容器染色试验

3、注胶量的设定及检测

通常遵循的规则对注胶的要求:

(1)每个班至少两小时检测一次胶量。

(2)保留记录以作适当调整。

(3)太少的胶量将导致泄漏。

(4)胶膜无洞眼,无重叠和不足。

4、水基密封胶烘烤不完全的隐患

(1)附着力差:胶膜易脱落。

(2)挤胶:卷边后密封胶被挤出卷边。

(3)渗漏:卷边出现渗漏现象。

(4)水煮起泡:胶膜不耐高温水煮,水煮时会起泡脱落。

(5)发霉:密封胶没有烘干,水基胶会发霉变质。


【相关链接】

金属容器密封胶及其应用(1)

金属容器密封胶及其应用(2)

金属容器密封胶及其应用(3)


 

本站部分信息由企业自行提供,该企业负责信息内容的真实性、准确性和合法性。bt365网址对此不承担任何保证责任
关于我们 | 联系我们 | 广告合作 | 付款方式 | 使用帮助 bt365网址 版权所有
mailto:winlyons@www.chinabiaoyue.com
【陇ICP备05000400】